硬纤维瘤无法切净怎么办?中山一院为临床带来创新方案
2021-11-11 我要说
近日,中山大学附属第一医院骨肿瘤科沈靖南、尹军强教授团队的一篇关于“三明治隔离手术”治疗硬纤维瘤的文章,发表在美国神经外科医师协会会刊Neurosurgery(中科院Top期刊、外科1区)期刊上,该文章的发表为累及血管、神经的硬纤维瘤这一世界难题提供了中国外科治疗的创新方案。

沈靖南、尹军强教授团队于Neurosurgery发表的原创报道
临床问题
硬纤维瘤是一种侵袭性的软组织肿瘤,虽然不会像恶性肿瘤般发生远处转移,但是肿瘤侵袭生长和压迫周围组织器官,使患者饱受肿瘤带来的痛苦。因为硬纤维瘤切除术后复发率高,国际上缺少有效的外科治疗手段,目前相关指南推荐首选观察和药物保守治疗。对于保守治疗效果不佳的患者,外科手术复发率高,反复手术造成了肢体功能下降和心理创伤,部分患者被迫截肢,严重地影响着患者的生活质量。
思路启发及应用
传统的外科手段对硬纤维瘤治疗效果差,需要有新的治疗思路和手段。中山大学附属第一医院骨肿瘤科沈靖南、尹军强教授在临床实践中发现,硬纤维瘤不像一般的良性肿瘤那样有包膜的限制,而是广泛地侵袭生长,不仅能“吃”住肌肉,更能“吃”进骨头里,“野火烧不尽,春风吹又生”,硬纤维瘤就像顽强的野草般难以斩草除根。而硬纤维瘤复发的关键在于常常侵犯神经血管,保存肢体功能的要求让医生投鼠忌器,很容易使肿瘤在神经血管束上残留,达不到R0切除,而成为复发的来源。
为了解除进展型硬纤维瘤患者的病痛和降低手术复发率,沈靖南、尹军强教授创新性地提出“三明治隔离手术”(Sandwich isolation surgery)方案,利用补片材料构成人工屏障,相当于对神经、血管上残留的肿瘤加了一层“罩子”,联合血管鞘和神经外膜构成的天然屏障,组成“生物材料补片-肿瘤/肿瘤床-血管神经鞘膜”三明治结构隔离残余肿瘤和周围正常组织从而限制肿瘤的生长和侵袭。
三明治隔离手术示意图

非血管神经累及区域行R0切除

血管神经累及区域行R1/R2切除保留血管神经

生物补片隔离微小残留肿瘤
尹军强教授介绍:受体内血管鞘膜、神经外膜,肌肉筋膜、肌腱等可作为肿瘤生长屏障启发,结合临床、影像及病理研究,我们发明了三明治隔离手术并成功应用于临床实践。此手术的关键在于,受累神经、血管允许非R0切除即部分残留,而其余区域尽可能切除干净,达到R0切除边界,这样才可以降低此类肿瘤复发率。
项目成果
基于疗效良好的病例,沈靖南、尹军强教授总结经验,将研究成果发表于神经外科权威期刊Neurosurgery上,文章题目名为“A Novel Method to Treat Progressive Desmoid Tumors Involving Neurovascular Bundles: A Retrospective Cohort Study”。该论文总结了14例接受“三明治隔离手术”的患者,术后随访17-50月,3年无复发生存率为76.9%,明显高于接受传统切除手术的患者(3年无复发生存率32.7%),并且术后仅两例患者出现手术区域轻微疼痛,没有明显并发症。有趣的是,我们发现隔离区域内、残留在血管、神经上的肿瘤组织无1例进展,而复发患者均为隔离区域外复发,说明外周区域必须达到R0切除,才能达到更好的临床疗效。

三明治隔离手术患者的无复发生存率(红线)明显高于传统切除手术患者的无复发生存率(蓝线)
Neurosurgery期刊为此专门刊登2篇述评,加拿大卡尔加里大学Harley Brito da Silva教授,述评中提到“自从1977年美国癌症联合委员会对肿瘤切除边界做出分类以来,得到了肿瘤外科界的广泛应用”,而“三明治隔离手术理念有趣,研究成果初步证明了手术的成效。作者为解决这一外科难以治疗的肿瘤疾病提供了崭新的治疗方案,是值得称赞的”。美国梅奥诊所Robert J. Spinner教授也对此技术进行述评予以肯定,并指出此技术的应用注意事项。


Neurosurgery杂志对此报道的专门述评
“三明治隔离手术”技术还获邀在2019年ISOLS全球保肢大会发言报道、CTOS全球结缔组织年会壁报交流、国内全国肿瘤大会等推广交流。并且2021年10月还获批了中山大学附属第一医院Ⅳ级新技术(在国内外尚未使用的新技术)。

尹军强教授参加国际交流
尹军强教授在临床实践中还发现,此技术对于累及神经、血管的侵袭性纤维瘤病,高中分化(低度恶性)的脂肪肉瘤均有良好的临床疗效,避免了患者由于反复复发造成的功能障碍,乃至截肢风险。今后将通过更加深入的临床和基础研究阐明“三明治隔离手术”的疗效和机制,同时扩大该手术的应用范围,为硬纤维瘤等侵袭性软组织肿瘤提供来自中国的创新解决方案。

7例脂肪肉瘤患者接受三明治隔离手术,随访期间(时长:5.6-29.6月)仅1例术后复发
典型病例
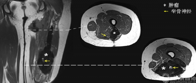
病例1:硬纤维瘤病例
患者女,23岁,左大腿复发性硬纤维瘤,观察期间肿瘤进展。
术前磁共振提示肿瘤包绕坐骨神经与腘血管。周围肌肉组织行广泛切除,坐骨神经与腘血管R2切除后行三明治隔离手术,术后55.5月随访过程中,补片隔离区域未见复发。

术前磁共振影像

术后磁共振影像提示隔离区域无复发,而非隔离区域内有病变进展
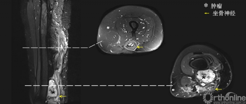
病例2:脂肪肉瘤病例
患者女,53岁,右大腿上段复发性高分化脂肪肉瘤。
术前磁共振提示肿瘤包绕坐骨神经,周围肌肉组织行R0切除,坐骨神经R2切除边界后行三明治隔离手术,术后随访28月未见复发。

术前磁共振影像

术后磁共振影像
总结
“三明治隔离手术”新技术为累及血管、神经的硬纤维瘤、脂肪肉瘤等侵袭性/低度恶性软组织肿瘤患者,带来临床解决创新方案,降低了此类患者的复发率,减少了因此类肿瘤反复复发而被迫截肢的风险,本文章详细介绍了此技术及相应的临床疗效。沈靖南、尹军强教授已施行此类手术30余例,涉及疾病包括硬纤维瘤、侵袭性纤维瘤病、高、中分化脂肪肉瘤等。
作者简介

沈靖南
主任医师、教授二级、博士生导师;中山大学附属第一医院骨肿瘤科主任;国之名医——卓越建树;中国名医百强、中大名医。
学术任职:国际骨肿瘤保肢协会(ISOLS)会员;中国抗癌协会肉瘤专业委员会候任主任委员、骨盆肿瘤学组副组长;中华医学会肿瘤学分会骨肿瘤学组副组长;中国医师协会骨科医师分会骨肿瘤学组副组长;中华医学会骨科学分会骨肿瘤学组委员;中国肿瘤防治联盟中南骨肿瘤联盟主任委员;广东省医师协会骨肿瘤专业医师分会主任委员;广东省医学会骨科学分会副主任委员、骨肿瘤学组组长;广东省健康管理学会干细胞与再生医学专业委员会副主任委员;广东省医学会粤港澳大湾区骨科联盟副主席。
门诊时间:周一上午(特诊教授门诊)、周五上午(教授门诊)

尹军强
主任医师、博士生导师;中山大学附属第一医院骨肿瘤科副主任,广东省杰出青年医学人才,广州实力中青年医生,中山一院柯麟菁英人才。
学术任职:中国抗癌协会肉瘤专业委员会委员、秘书;广东省医学会骨科学分会青年委员会副主任委员;骨科在线骨肿瘤编委会副主编;中国抗癌协会肉瘤专业委员会创新与转化学组副组长、骨转移瘤学组、骨盆学组委员等。
门诊时间:周二下午、周三下午以及周五下午(特诊)

付艺伟
中山大学附属第一医院八年制外科博士在读。
主要研究方向为骨与软组织肿瘤的诊断方法、保肢治疗和预后研究。在导师沈靖南教授、尹军强教授指导下,以共同第一作者身份发表英文SCI论文2篇,在读期间曾获得国奖奖学金、中山大学优秀共产党员、中山大学优秀学生一等奖学金、中山大学学术创新奖、中山大学实习医生临床技能大赛等奖项。



京公网安备11010502051256号